애플, 아이폰 위성 통신 케이스 개발
2026년 2월 20일

2024년에 애플은 위성 통신 기능을 갖춘 전자 장치 및 케이스에 대한 특허 출원을 제출했으며, 해당 내용이 최근 공개됐다. 이 케이스는 기존 제품보다 더 많은 안테나를 탑재해 위성 통신 성능을 강화할 수 있도록 설계된 것으로 보인다.
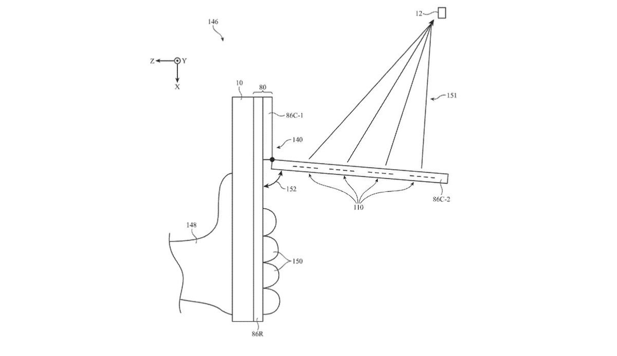
이 케이스는 아이폰뿐만 아니라 아이패드에도 적용될 것으로 예상된다. 특허 도면에 따르면, 케이스 내부에 배치된 위상 배열 안테나가 하늘 방향으로 향하도록 설계된 열리는 부분이 포함돼 있다. 이 구조 덕분에 사용자가 전화기를 직접 만져도 안테나가 탑재된 부분을 손으로 만지는 것이 아니므로 위성 신호 차단이 방지된다.
이러한 안테나 배열을 통해 케이스는 여러 위성을 동시에 연결할 수 있다. 일반적인 케이스처럼 사용자가 직접 설치하고 제거할 수 있는 기능도 포함된 것으로 알려졌다. 애플의 특허 출원에서는 이 케이스가 '제거 가능한 케이스를 통해 무선 데이터를 라디오 주파수 커넥터를 통해 전송'하거나, NFC와 같은 다양한 방식으로 데이터를 전송할 수 있을 것으로 전망했다.
이러한 특허 출원은 애플과 같은 기업이 실제로 출시되지 않은 제품에 대해 수많은 특허를 출원하는 것이 일반적인데, 이는 보다 '개념 검증'에 가까운 경우가 많다. 실제 제품 개발보다는 적은 경우가 많지만, 이후 실제 제품으로 이어질 가능성도 있다. 다만, 대부분의 특허가 실제 제품으로 이어지지 않기 때문에, 애플이 이와 같은 제품을 실제로 출시할지 확신하기는 어렵다.
출처: GSMArena